Тел. +7(3852) 25-32-42 (факс)
Бесплатный телефон «горячей линии»:
8 (800) 700-62-28
Тел. +7(3852) 25-32-42 (факс)
Бесплатный телефон «горячей линии»:
8 (800) 700-62-28
Кюветы к анализаторам MIURA/MINDRAY/LABIO/ACCENT BS 120/200/300 КИТАЙ
Назад
Описание
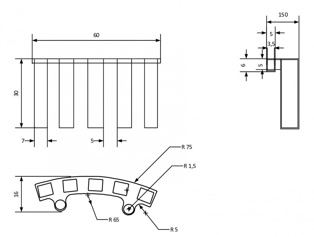
ACCENT/ BS 120
- Кювета пластиковая, выполненная в виде сегмента на 5 реакционных кювет
- Толщина пропускания светового луча 4 мм
- Длина 58 мм, высота 28 мм, ширина 6 мм
- С 2-мя цилиндрическими фиксаторами, расположенными между 1-2 и 4-5 ячейками. Длина фиксаторов 5 мм. Ширина 13 мм с фиксаторами
- Метод исполнения литье под давлением
- Размер ячейки 4 х 5 мм

ACCENT/ BS 200 /Miura
- Кювета пластиковая, выполненная в виде сегмента на 10 реакционных кювет
- Толщина пропускания светового луча 4 мм
- Длина 98 мм, высота 28 мм, ширина 8 мм. С 2-мя цилиндрическими фиксаторами, расположенными между 3-4 и 7-8 ячейками. Длина фиксаторов 5 мм. Ширина 14 мм с фиксаторами
- Метод исполнения литье под давлением
- Размер ячейки 4 х 5 мм

ACCENT/ BS 300
- Кювета пластиковая, выполненная в виде сегмента на 10 реакционных кювет
- Толщина пропускания светового луча 4 мм
- Длина 98 мм, высота 28 мм, ширина 6 мм. С 6-ью фиксаторами, расположенными параллельно 1-2 и 5-6, 9-10 ячейками. Длина фиксаторов 8 мм. Ширина 8 мм с фиксаторами, с ребрами жесткости по внешнему краю с толщиной 0.5 мм
- Метод исполнения литье под давлением
- Размер ячейки 4 х 5 мм

Производитель: Китай
РУ: РУ РЗН 2015/3384 от 07.12.2015 г
Характеристики
| Количество ячеек/сегментов в упаковке, шт | 1000 |
Вы недавно смотрели
Миксеры (металлические шарики) диаметр 2,0 мм КИТАЙ
Миксеры (металлические шарики) диаметр 2,0 мм КИТАЙЦена по запросу
Миксеры (металлические шарики) являются неотъемлемой частью кювет, используемых для исследования системы гемостаза
.png)

.png)

